本文介紹產品碳足跡資料線上收集的功能。
平台提供線上收資功能,用於收集產品碳足跡資料。點擊產品碳足跡列表頁右上方的【收資管理】即可進入收資管理頁面。

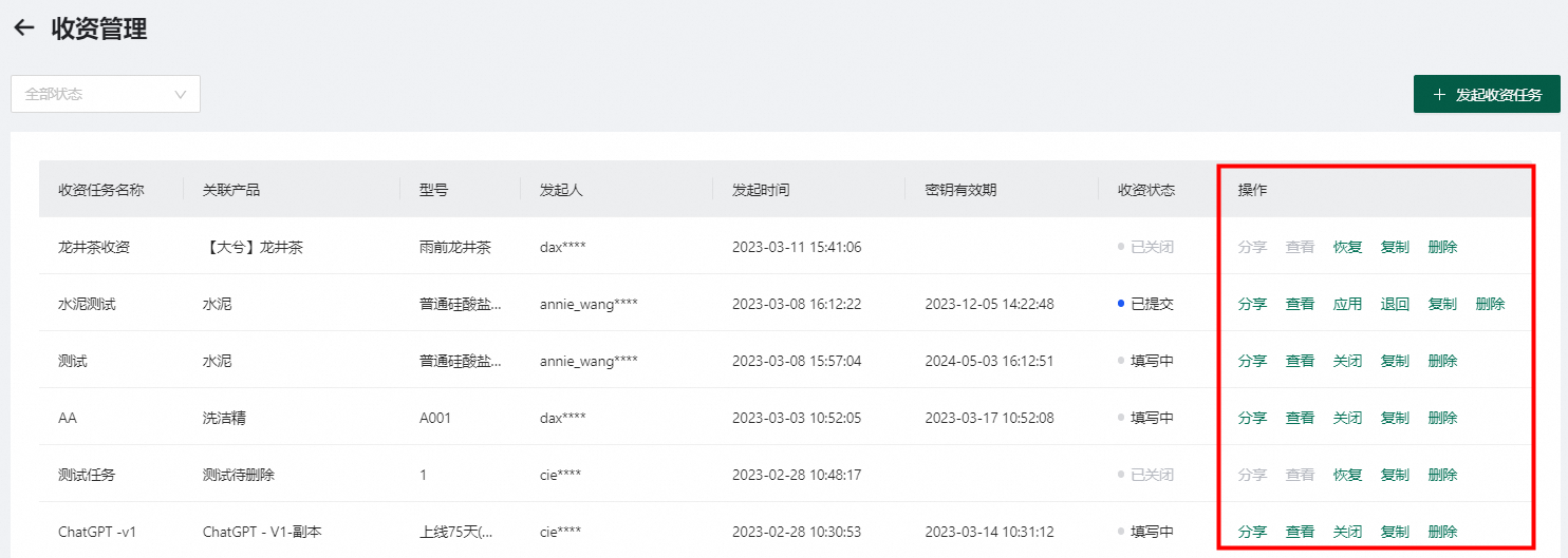
在收資管理頁面可以查看已經發起的線上收資任務。點擊【發起收資任務】,自訂收資任務的名稱,並關聯一個已有的產品碳足跡模型。(註:在發起收資任務之前,需要先建立一個產品碳足跡模型,以便於指導填資方填寫資料,以及後續將資料應用至對應模型中。)設定完成後,點擊【確認提交】即可完成收資任務的建立。

點擊收資任務操作列的【分享】,即可擷取對外分享任務的連結和密鑰。

外部使用者使用連結和密鑰即可查看收資頁面並線上填寫,完成填寫並提交後,收資任務的狀態更新為“已提交”。已提交的收資頁無法再進行編輯。收資方在能耗寶平台可以線上審核已提交的收資頁,如果確認收資內容無誤,可以點擊操作列的【應用】,即可將收資頁內容同步至已關聯的產品碳足跡模型中;如果收資頁內容需要修改,則點擊【退回】,以便於填資方可以重新編輯。
針對收資任務,使用者可以進行多種操作:分享、查看、關閉、複製、刪除、應用、退回。其中,“關閉”表示關閉收資任務,相應收資頁失效;“應用”和“退回”則是針對已提交的收資任務。
