Quick BI 支持在组织内设置列级权限,对整个组织内的某个字段进行权限控制。例如用户可以通过设置组织级列级权限实现对手机号、身份证等敏感字段的脱敏。本文为您介绍列级权限的设置方法和生效规则。
应用场景
在企业数据安全管控中,当某些字段值不能透出给用户时,您可以通过在组织级别的列级权限中,设置禁止查看或数据脱敏来对手机号、身份证等敏感字段进行脱敏。权限规则设置后,该用户只能查看规则范围内的字段值,从而保证数据安全。
使用限制
仅支持组织管理员和拥有企业安全功能权限的自定义角色用户设置组织级别的列级权限。
仅适用于新版行列权限,若您为旧版行列权限,请将旧版行列权限升级到新版。
最多支持创建10条列级权限规则。
操作步骤
登录Quick BI控制台。
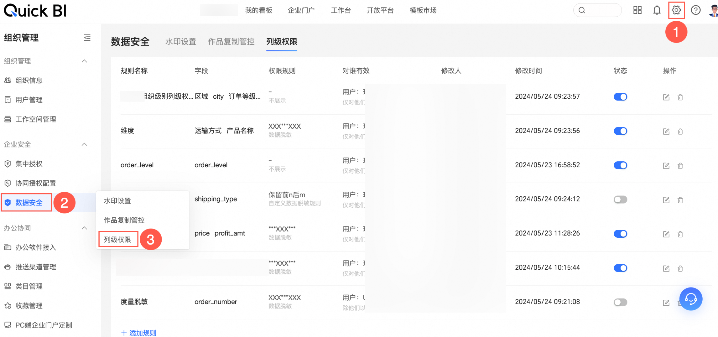
按照图示步骤,进入列级权限设置页面。

在列级权限设置页面,单击添加规则,并进行以下配置。

配置项
说明
①规则名称
您可以自定义规则名称,不支持重名。
②字段名称
命中数据集字段名则对该字段脱敏。若输入多个字段名,以英文逗号分隔。字段名称不支持重名。
③设置规则
禁止查看
设置为禁止查看的字段在交叉表中展示为“- -”,在其他可视化图表中不展示。
数据脱敏
在数据集中设置需要脱敏的字段,系统将该字段中的敏感数据进行模糊化处理,使得该字段在仪表板、电子表格或自助取数中以脱敏的形式展示,以保护数据安全。
④对谁有效
支持设置所有人生效、仅对TA们有效和仅对TA们无效。
仅当用户同时拥有数据集权限和组织级权限时可查看数据。
具体规则请参见效果展示和规则说明。
单击完成。
效果展示和规则说明
禁止查看
设置规则
例如,配置某用户禁止查看客户名称。

效果展示
设置完成后,该用户在交叉表中看到该字段显示为"- -",在柱图等图表中无法看到该字段。

数据脱敏
设置规则
例如,配置手机号脱敏并对所有人生效。

您可以也可自定义脱敏规则,具体配置请参见数据脱敏。

效果展示
设置完成后,所有人都只能看到脱敏后的手机号。

生效说明
赋权对象 | 参数说明 |
所有人生效 | 后续查看上述指定字段的数值时:
|
仅对TA们有效 | 指定用户或用户组后,后续查看上述指定字段的数值时:
|
仅对TA们无效 | 指定用户或用户组后,后续查看上述指定字段的数值时:
|
特殊说明
仅当用户同时拥有数据集权限和组织级权限时可查看数据。
组织级别的列级权限优先于数据集生效,当数据集有部分字段受全局列级权限控制,脱敏规则将强制生效,不受开关控制。当脱敏规则冲突时,以全局规则为准。
数据集列级权限的说明请参见列级权限。
管理列级权限
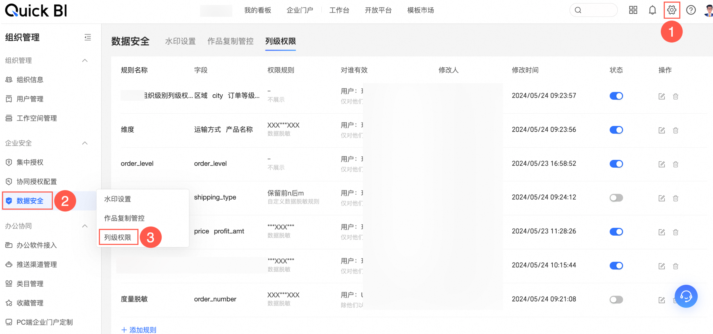
进入列级权限设置页面。

在列级权限管理页面,您可以对已创建的权限规则进行编辑(①)或删除(②)操作。
