概述
內網DNS解析提供動作記錄供使用者查詢,以便於使用者後續核查。動作記錄是記錄內建權威、緩衝管理、轉寄管理、服務地址等歷史操作記錄,如果您要查詢解析記錄的動作記錄,請參考查詢解析變更日誌。
使用限制
內網DNS動作記錄查詢時間限制為6個月。
操作方法
在左側導覽列單擊 動作記錄 按鈕,在動作記錄頁面選擇 內網DNS解析 頁簽。

動作記錄欄位說明
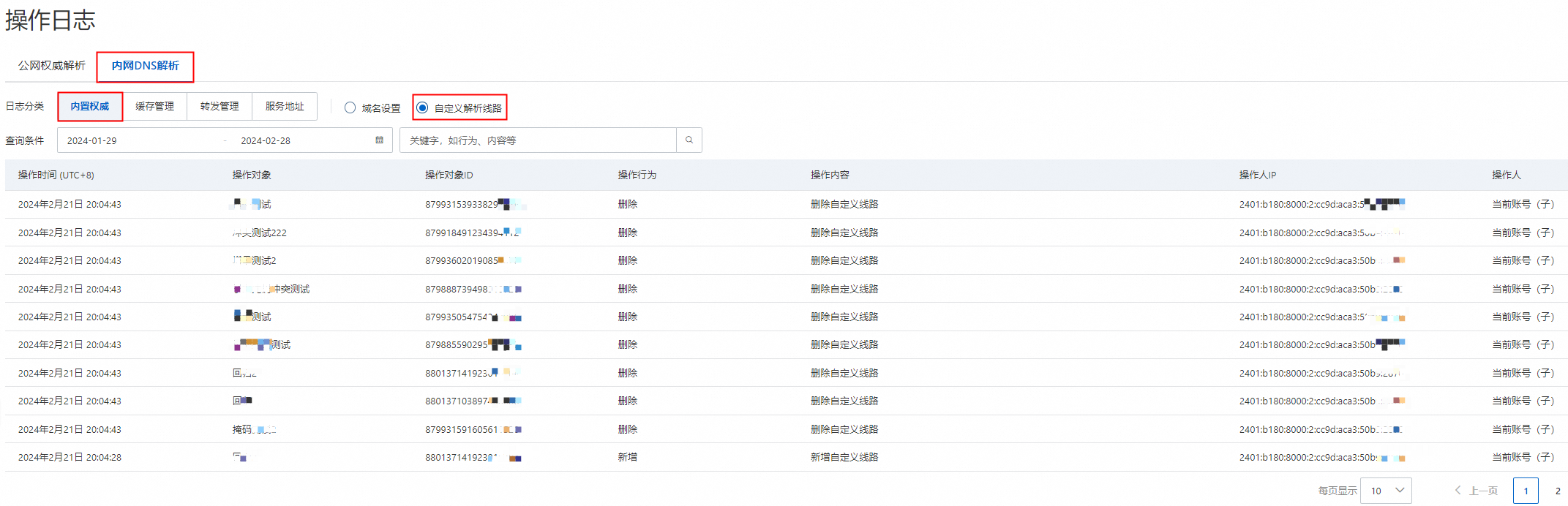
操作時間(UTC+8):操作發生的時間。
操作對象:指操作的主體,例如網域名稱、自訂解析線路、緩衝保持網域名稱、轉寄規則、出站終端節點、入站終端節點。
操作對象ID:網域名稱、自訂解析線路、轉寄規則、出站終端節點、入站終端節點等的唯一標識碼。
操作行為:對操作對象的具體操作內容,例如增加、刪除、修改、關聯等。
操作內容:記錄本次操作的具體內容。
操作人IP:操作本次變更的IP地址(公網IP,如果操作終端裝置為私網IP,則此處記錄的IP為使用者終端NAT之後的公網IP)。
操作人:操作本次變更的帳號,例如當前帳號(主)、當前帳號(子)。
動作記錄分類展示
內建權威動作記錄
網域名稱設定日誌

自訂解析線路日誌

緩衝管理動作記錄

轉寄管理動作記錄
轉寄規則日誌

出站終端節點日誌

服務地址動作記錄
入站終端節點日誌
